据报道,1月29日,公安部、体育总局、中国足协在北京联合召开足球行业“假赌黑”问题专项整治行动新闻发布会。中国足协负责人通报了本次行业处罚的具体情况。对经司法部门生效判决认定构成犯罪的陈戌源、李铁等73名从业人员,给予终身禁止从事任何与足球有关的活动的处罚。
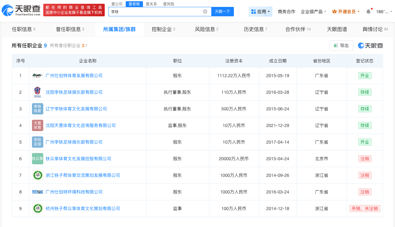
天眼查App显示,李铁关联企业共有9家,其中5家为开业或存续状态,包括沈阳李铁足球俱乐部有限公司、广州仕伯特体育发展有限公司等,其余4家企业已注销或吊销未注销。李铁在上述企业中任职或持有股份,版图涉及体育等领域。

据报道,1月29日,公安部、体育总局、中国足协在北京联合召开足球行业“假赌黑”问题专项整治行动新闻发布会。中国足协负责人通报了本次行业处罚的具体情况。对经司法部门生效判决认定构成犯罪的陈戌源、李铁等73名从业人员,给予终身禁止从事任何与足球有关的活动的处罚。
天眼查App显示,李铁关联企业共有9家,其中5家为开业或存续状态,包括沈阳李铁足球俱乐部有限公司、广州仕伯特体育发展有限公司等,其余4家企业已注销或吊销未注销。李铁在上述企业中任职或持有股份,版图涉及体育等领域。

上一篇:金晨名下关联6家企业
下一篇:金晨60秒视频报价70万