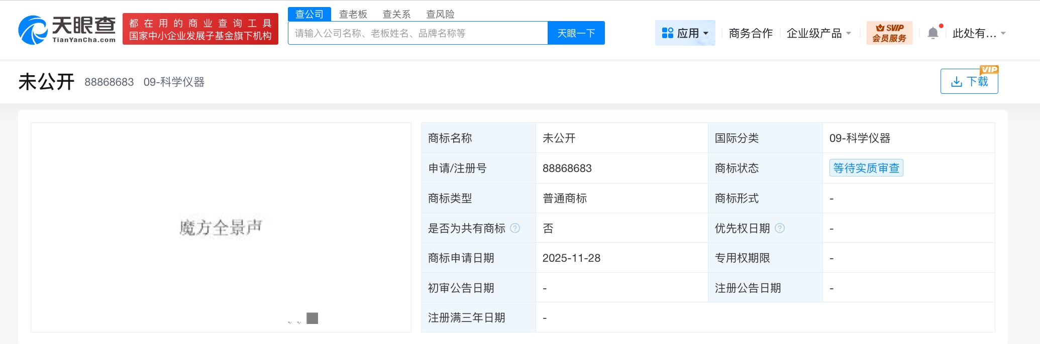
天眼查知识产权信息显示,近日,比亚迪股份有限公司申请注册一枚“魔方全景声”商标,国际分类为科学仪器,当前商标状态为等待实质审查。
比亚迪股份有限公司1995年2月,法定代表人为王传福,注册资本约91.2亿人民币。股东信息显示,该公司由香港中央结算(代理人)有限公司、王传福、吕向阳等共同持股。

天眼查知识产权信息显示,近日,比亚迪股份有限公司申请注册一枚“魔方全景声”商标,国际分类为科学仪器,当前商标状态为等待实质审查。
比亚迪股份有限公司1995年2月,法定代表人为王传福,注册资本约91.2亿人民币。股东信息显示,该公司由香港中央结算(代理人)有限公司、王传福、吕向阳等共同持股。

上一篇:极石汽车在上海成立汽车部件公司