据报道,近日,网易游戏《燕云十六声》新外观“飞白成诗”被多位玩家指出存在擦边问题,玩家指出,该服装设计存在大量裸露元素,存在擦边情况引起关注。
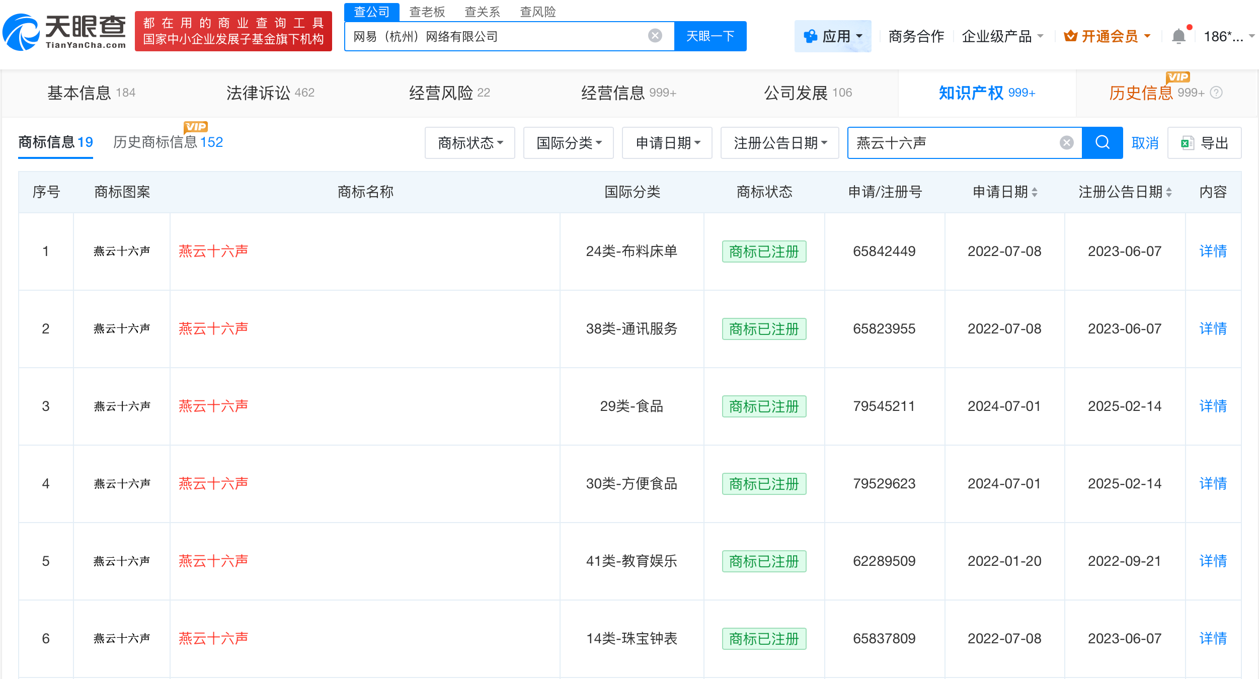
天眼查App显示,网易(杭州)网络有限公司已申请注册“燕云十六声”商标,国际分类涉及教育娱乐、方便食品等,当前商标均已成功注册。

据报道,近日,网易游戏《燕云十六声》新外观“飞白成诗”被多位玩家指出存在擦边问题,玩家指出,该服装设计存在大量裸露元素,存在擦边情况引起关注。
天眼查App显示,网易(杭州)网络有限公司已申请注册“燕云十六声”商标,国际分类涉及教育娱乐、方便食品等,当前商标均已成功注册。
