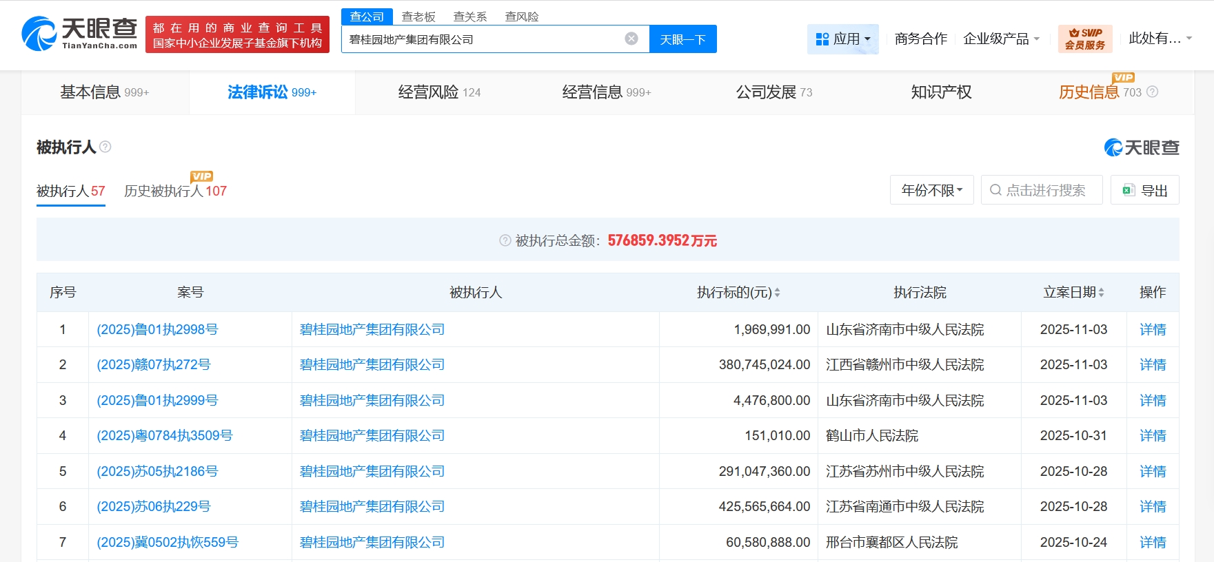
天眼查App显示,近日,碧桂园地产集团有限公司新增3条被执行人信息,执行标的合计3.8亿余元,被执行人还包括龙南碧桂园房地产开发有限公司、增城市碧桂园物业发展有限公司等,执行法院为江西省赣州市中级人民法院、山东省济南市中级人民法院。
天眼风险信息显示,碧桂园地产集团有限公司现存57条被执行人信息,被执行总金额超57亿元,此外,该公司还存在多条限制消费令、失信被执行人(老赖)及终本案件信息。

天眼查App显示,近日,碧桂园地产集团有限公司新增3条被执行人信息,执行标的合计3.8亿余元,被执行人还包括龙南碧桂园房地产开发有限公司、增城市碧桂园物业发展有限公司等,执行法院为江西省赣州市中级人民法院、山东省济南市中级人民法院。
天眼风险信息显示,碧桂园地产集团有限公司现存57条被执行人信息,被执行总金额超57亿元,此外,该公司还存在多条限制消费令、失信被执行人(老赖)及终本案件信息。

下一篇:上海世茂建设等被执行9.3亿