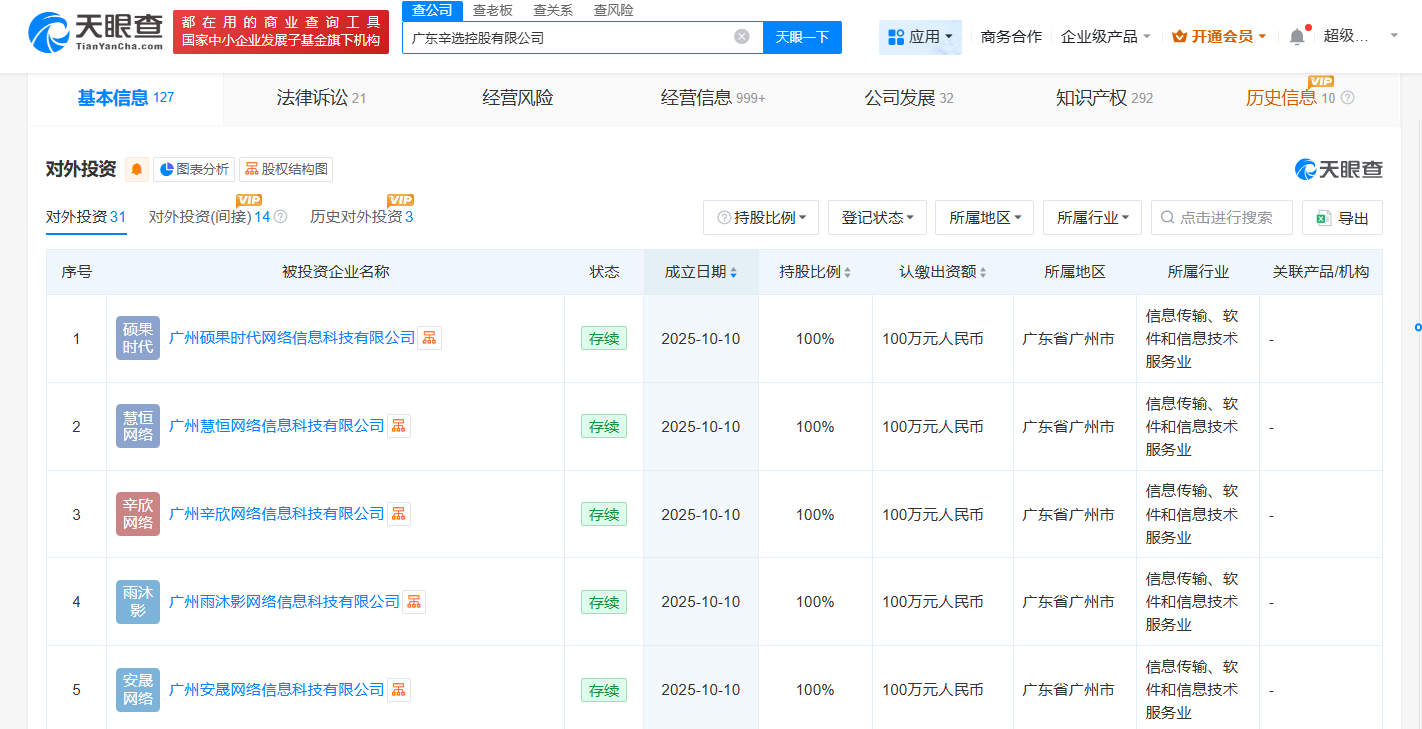
天眼查工商信息显示,近日,广州硕果时代网络信息科技有限公司、广州慧恒网络信息科技有限公司、广州辛欣网络信息科技有限公司、广州雨沐影网络信息科技有限公司、广州安晟网络信息科技有限公司成立,法定代表人均为计梦瑶,注册资本均为100万人民币,经营范围包括卫生用品和一次性使用医疗用品销售、母婴用品销售、个人卫生用品销售等。股东信息显示,上述公司均由广东辛选控股有限公司全资持股。

天眼查工商信息显示,近日,广州硕果时代网络信息科技有限公司、广州慧恒网络信息科技有限公司、广州辛欣网络信息科技有限公司、广州雨沐影网络信息科技有限公司、广州安晟网络信息科技有限公司成立,法定代表人均为计梦瑶,注册资本均为100万人民币,经营范围包括卫生用品和一次性使用医疗用品销售、母婴用品销售、个人卫生用品销售等。股东信息显示,上述公司均由广东辛选控股有限公司全资持股。
