据财新报道,宗馥莉执掌下的娃哈哈正在尝试换标、关停工厂、渠道等。9月,一份娃哈哈《关于开展2026销售年度经销商沟通工作的通知》流出,通知显示,为维护“娃哈哈”品牌使用的合规性,娃哈哈集团决定从2026年新的销售年度起,更换使用新品牌“娃小宗”。
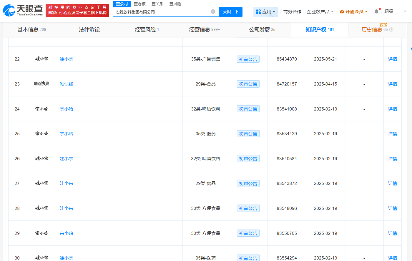
天眼查知识产权信息显示,今年以来,宏胜饮料集团有限公司已申请注册多枚“娃小宗”“宗小哈”“娃小哈”商标,国际分类涉及食品、啤酒饮料、广告销售等。其中,多枚“娃小宗”“宗小哈”商标状态为初审公告。
值得注意的是,河南某健康产业公司、新吴某电子商务公司、九江某科技公司等均已申请注册“娃小宗”商标,当前商标状态为等待实质审查。
