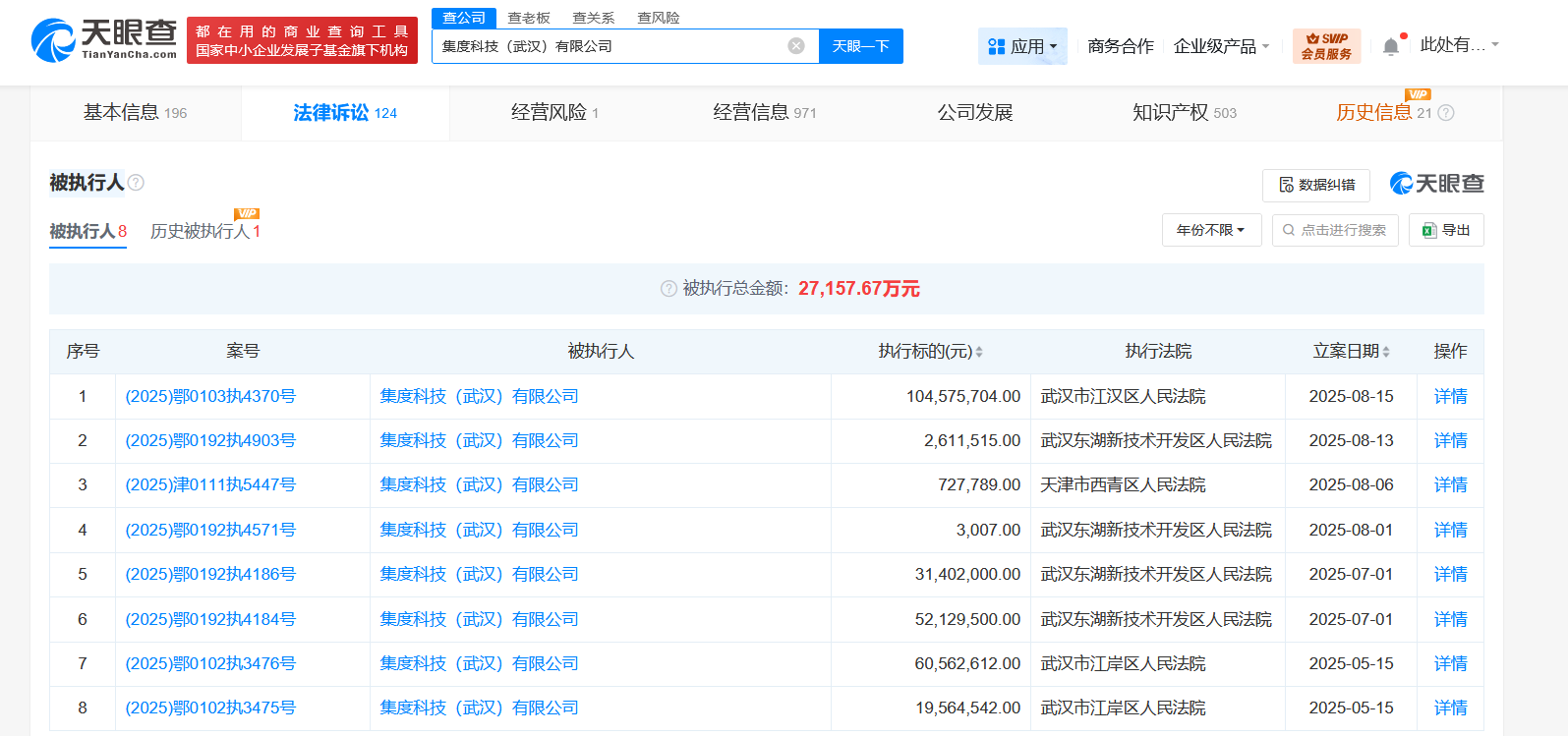
天眼查App显示,近日,集度科技(武汉)有限公司、武汉集度汽车服务有限公司新增一则被执行人信息,执行标的1.04亿余元,涉及金融借款合同纠纷案件,执行法院为武汉市江汉区人民法院。
集度科技(武汉)有限公司成立于2022年11月,法定代表人为夏一平,注册资本4亿美元,经营范围含食品销售、互联网信息服务、餐饮服务、检验检测服务、汽车装饰用品销售、充电桩销售等。股东信息显示,该公司由集度汽车(香港)有限公司全资持股。天眼风险信息显示,该公司现存8条被执行人信息,被执行总金额超2.7亿元,此外,该公司所持多家公司股权已被冻结。
