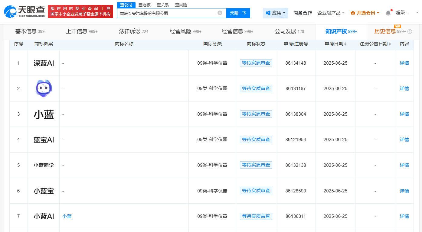
天眼查知识产权信息显示,近日,重庆长安汽车股份有限公司申请注册“小蓝AI”“深蓝AI”“蓝宝AI”等商标,国际分类为科学仪器,当前商标状态均为等待实质审查。
重庆长安汽车股份有限公司成立于1996年10月,法定代表人为朱华荣,注册资本约99.2亿人民币,由辰致汽车科技集团有限公司、中国兵器装备集团有限公司、南方工业资产管理有限责任公司等共同持股。

天眼查知识产权信息显示,近日,重庆长安汽车股份有限公司申请注册“小蓝AI”“深蓝AI”“蓝宝AI”等商标,国际分类为科学仪器,当前商标状态均为等待实质审查。
重庆长安汽车股份有限公司成立于1996年10月,法定代表人为朱华荣,注册资本约99.2亿人民币,由辰致汽车科技集团有限公司、中国兵器装备集团有限公司、南方工业资产管理有限责任公司等共同持股。

上一篇:杜建英名下公司等被执行3005万
下一篇:赛力斯申请问界官方认证二手车商标