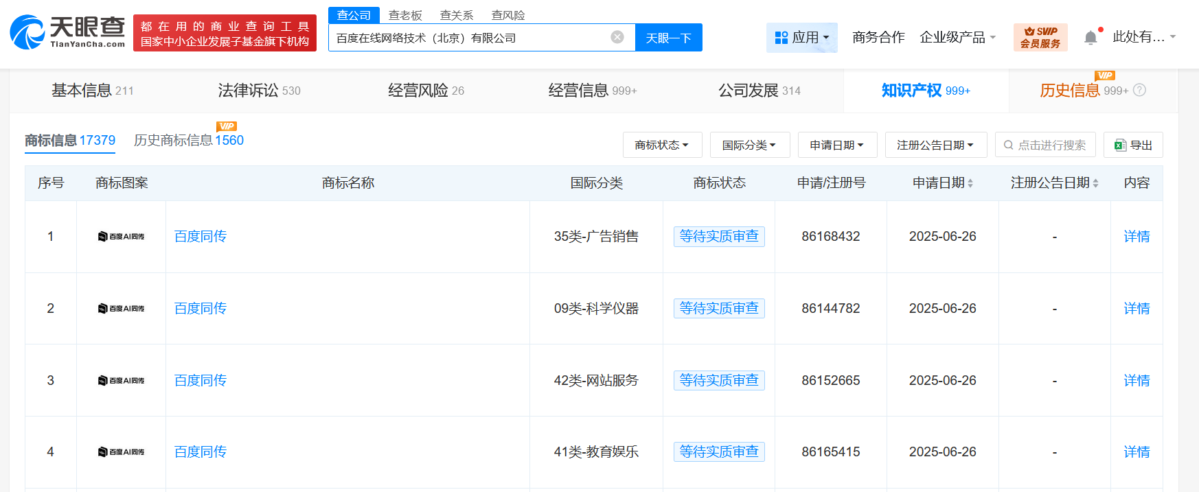
天眼查App显示,近日,百度在线网络技术(北京)有限公司申请注册多枚“百度AI同传”商标,国际分类为科学仪器、网站服务、教育娱乐等,当前商标状态均为等待实质审查。
公开信息显示,百度AI同传是百度提供的基于人工智能技术的同声传译解决方案,通过语音识别、机器翻译和语音合成等技术实现实时语言转换。

天眼查App显示,近日,百度在线网络技术(北京)有限公司申请注册多枚“百度AI同传”商标,国际分类为科学仪器、网站服务、教育娱乐等,当前商标状态均为等待实质审查。
公开信息显示,百度AI同传是百度提供的基于人工智能技术的同声传译解决方案,通过语音识别、机器翻译和语音合成等技术实现实时语言转换。
