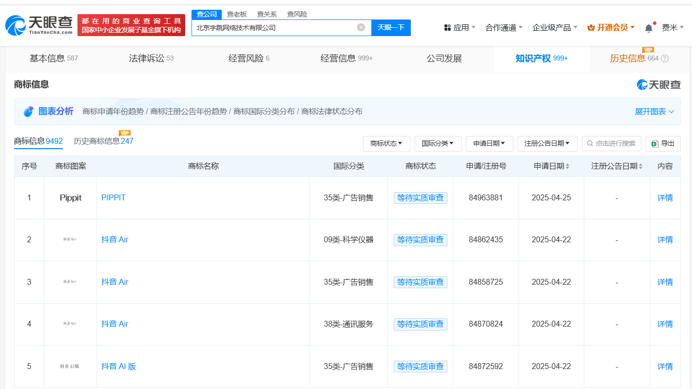
天眼查知识产权信息显示,近日,北京字跳网络技术有限公司申请注册多枚“抖音AI版”“抖音Air”商标,国际分类包括科学仪器、广告销售、通讯服务等,当前商标状态均为等待实质审查。
该公司成立于2018年10月,法定代表人为水恒熠,注册资本1亿美元,经营范围包括会议服务、企业策划、组织文化艺术交流活动、版权代理、版权贸易、文艺创作等,由抖音集团(香港)有限公司全资持股。

天眼查知识产权信息显示,近日,北京字跳网络技术有限公司申请注册多枚“抖音AI版”“抖音Air”商标,国际分类包括科学仪器、广告销售、通讯服务等,当前商标状态均为等待实质审查。
该公司成立于2018年10月,法定代表人为水恒熠,注册资本1亿美元,经营范围包括会议服务、企业策划、组织文化艺术交流活动、版权代理、版权贸易、文艺创作等,由抖音集团(香港)有限公司全资持股。

上一篇:长安汽车在重庆成立轻量化科技公司
下一篇:中国重汽集团换帅完成工商变更