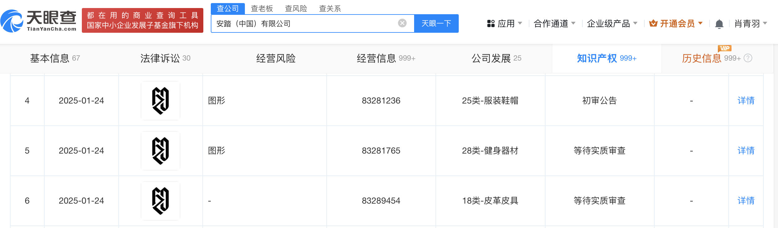
据报道,4月20日,安踏(中国)有限公司为其代言人樊振东申请注册的一枚图形商标“FZD”进入初审,该logo主体由樊振东姓名缩写(FZD)组成。
天眼查知识产权信息显示,今年1月,安踏(中国)有限公司申请注册多枚“FZD”图形商标,国际分类涉及服装鞋帽、健身器材、皮革皮具,其中一枚图形商标“FZD”进入初审,其余商标状态为等待实质审查。

据报道,4月20日,安踏(中国)有限公司为其代言人樊振东申请注册的一枚图形商标“FZD”进入初审,该logo主体由樊振东姓名缩写(FZD)组成。
天眼查知识产权信息显示,今年1月,安踏(中国)有限公司申请注册多枚“FZD”图形商标,国际分类涉及服装鞋帽、健身器材、皮革皮具,其中一枚图形商标“FZD”进入初审,其余商标状态为等待实质审查。

上一篇:格力智能指环专利可提高交互体验度
下一篇:三只松鼠成立万物云服科技公司